Sun Microsystems, Inc.
spacer spacer
spacer   Sun System Handbook Home | Systems | Components | General Info | Search | Feedback 
spacer
black dot
 
black fade
 

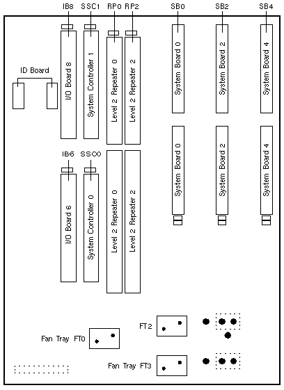
3-Slot Centerplane

Sun Fire 4810

501-4970 501-5878
Manufacturing Assembly
Programmed ID
FRU Assembly
Unprogrammed ID

Front View

Rear View

Sun Fire 3800-6800 Codename: Serengeti

WebToneWebToneWebToneWebTone
 Copyright 1994-2003 Sun Microsystems, Inc.,  901 San Antonio Road, Palo Alto, CA 94303 USA.  All rights reserved.
 Legal Terms Privacy Policy Feedback