Sun Microsystems, Inc.
spacer spacer
spacer   Sun System Handbook Home | Systems | Components | General Info | Search | Feedback 
spacer
black dot
 
black fade
 

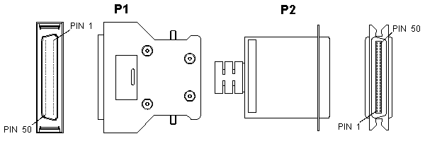
SCSI: HD50 to Centronics-50

530-1503 & 530-1900

P1
HD50
P2
Centronics-50
1 1
26 26
2 2
27 27
3 3
28 28
4 4
29 29
5 5
30 30
6 6
31 31
7 7
32 32
8 8
33 33
9 9
34 34
10 10
35 35
11 11
36 36
12 12
37 37
13 13
 
P1
HD50
P2
Centronics-50
38 38
14 14
39 39
15 15
40 40
16 16
41 41
17 17
42 42
18 18
43 43
19 19
44 44
20 20
45 45
21 21
46 46
22 22
47 47
23 23
48 48
24 24
49 49
25 25
50 50

WebToneWebToneWebToneWebTone
 Copyright 1994-2003 Sun Microsystems, Inc.,  901 San Antonio Road, Palo Alto, CA 94303 USA.  All rights reserved.
 Legal Terms Privacy Policy Feedback