Sun Microsystems, Inc.
spacer spacer
spacer   Sun System Handbook Home | Systems | Components | General Info | Search | Feedback 
spacer
black dot
 
black fade
 

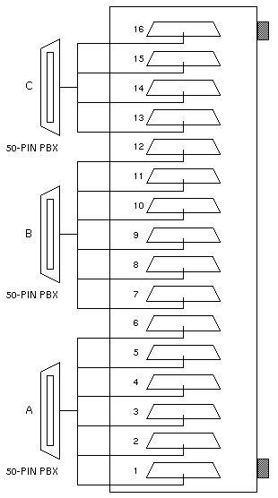
Serial Asynchronous Connectors

Option 974

370-1575

Notes

  1. Use Bracket 370-1582-01 to mount Option 964 in a 19-inch Rack.
  2. Sun discontinued the NTS hardware and software in May 1997.

Reference:

Hardware Installation Guide, 801-3990.

WebToneWebToneWebToneWebTone
 Copyright 1994-2003 Sun Microsystems, Inc.,  901 San Antonio Road, Palo Alto, CA 94303 USA.  All rights reserved.
 Legal Terms Privacy Policy Feedback