Sun Microsystems, Inc.
spacer spacer
spacer   Sun System Handbook Home | Systems | Components | General Info | Search | Feedback 
spacer
black dot
 
black fade
 

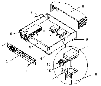
SBus Expansion Subsystem

Option 1072

CODE PART # DESCRIPTION
1 240-1761 #8-32 × 1/2" Screw
2 330-1371 Rear Panel Assembly
3
4
5
540-2071
330-1427
330-1167
Base Assembly
Front Foot
Rear Foot
6 300-1038 Power Supply
7 530-1755 LED Assembly
8 540-2122 Top Cover Assembly
9 370-1392 424MB Disk Drive
10 240-1878 #6-32 × 5/16" Screw
11 330-1343 Disk Drive Mounting Bracket (requires 330-1343-02)
12 530-1453 DC Power Harness
13 530-1451 Disk Command Cable
NS 501-1840 SBus Expansion Adapter
NS 501-1841 SBus Expansion Controller
NS 530-1855 Interface Cable, 96-Pin High-Density, 1.6M

800-5965 Installation and Troubleshooting Guide


WebToneWebToneWebToneWebTone
 Copyright 1994-2003 Sun Microsystems, Inc.,  901 San Antonio Road, Palo Alto, CA 94303 USA.  All rights reserved.
 Legal Terms Privacy Policy Feedback