Sun Microsystems, Inc.
spacer spacer
spacer   Sun System Handbook Home | Systems | Components | General Info | Search | Feedback 
spacer
black dot
 
black fade
 

StorEdge A1000/D1000 Rack Mount Kit

9653

CODE PART # DESCRIPTION
-
-
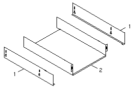
1
2
NS
NS
595-3906
540-3088
340-7026
340-4469
240-1953
240-3418
Option X9653A
Rack Mount Kit
Universal Rack Bracket (×2)
Tray
#10-32 × 1/2" Screw (×16)
10×14×.04375 Screw (×4)
-
-
1
2
NS
NS
595-6041
540-5028
340-7026
340-4469
240-1953
240-3418
Option X9653B
Rack Mount Kit
Universal Rack Bracket (×2)
Tray
#10-32 × 1/2" Screw (×16)
10×14×.04375 Screw (×4)


WebToneWebToneWebToneWebTone
 Copyright 1994-2003 Sun Microsystems, Inc.,  901 San Antonio Road, Palo Alto, CA 94303 USA.  All rights reserved.
 Legal Terms Privacy Policy Feedback