Sun Microsystems, Inc.
spacer spacer
spacer   Sun System Handbook Home | Systems | Components | General Info | Search | Feedback 
spacer
black dot
 
black fade
 

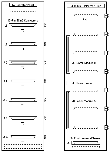
7-Slot SCSI Disk Backplane

SPARCstorage RSM

370-2198
FRU Assembly

Note

FRU 370-2198 includes the Chassis, Operator Panel, Operator Panel Cable, and Centerplane. Individual parts are not available.

Reference

SPARCstorage RSM Installation, Operations, and Service, 802-5062.

WebToneWebToneWebToneWebTone
 Copyright 1994-2003 Sun Microsystems, Inc.,  901 San Antonio Road, Palo Alto, CA 94303 USA.  All rights reserved.
 Legal Terms Privacy Policy Feedback