Sun Microsystems, Inc.
spacer spacer
spacer   Sun System Handbook Home | Systems | Components | General Info | Search | Feedback 
spacer
black dot
 
black fade
 

Ultra 2

A14

501-2487
0MB PRE-FCS

Jumper Settings

JUMPER PINS SETTING DESCRIPTION
J2002 1-2
2-3
In
In
Select FPROM (default)
Select ROMBO
J2003 1-2
2-3
In
In
FPROM write protect (default)
FPROM write enable
J2102 1-24 Out Serial port connector
J2103 1-8 Out Serial port edge test
J2104 1-2
2-3
In
In
RS-232 -12Vdc
RS-423 (default)
J2105 1-2
2-3
In
In
RS-232 +12Vdc
RS-423 (default)
J2201 1-2
2-3
In
Out
UPA Speed2 pullup
UPA Speed2 pulldown
J2202 1-32 Out ROMBO connector
J2203 1-8 Out JTAG connector
J2204 1-2
2-3
In
In
FPROM high half booting
FPROM low half booting (default)
J2205 1-2
2-3
Out
Out
Button XIR
Button POR
J2206 1-2
2-3
Out
Out
Pin-1 hardwired to Vcc
Pin-3 hardwired to Vcc
J2802 1-2
2-3
Out
In
UPA REQ pullup
UPA REQ pulldown
J2803 1-2
2-3
Out
In
SLAVIO TDO - MOD0 TDO
SLAVIO TDO - MOD1 TDI
J2902 1-2
2-3
Out
In
MOD1 TDI - MOD1 TDO
MOD1 TDI - RISC TDI
J3208 1-20
1-20
Out
Out
Odd Pins 1-19 = Gnd
Even Pins 2-20 = +3.3Vdc
J3402 1-8 Out Ethernet edge test
J3403 1-8 Out Ethernet edge test

CAUTION - Do NOT install jumpers on Power connector J3208.


Ultra 2

A14 / Netra i / Netra j / Netra NFS

501-3132
0MB FRU

Jumper Settings

JUMPER PINS SETTING DESCRIPTION
J2002 1-2
2-3
In
In
Select FPROM (default)
Select ROMBO
J2003 1-2
2-3
In
In
FPROM write protect (default)
FPROM write enable
J2102 1-24 Out Serial port connector
J2103 1-8 Out Serial port edge test
J2104 1-2
2-3
In
In
RS-232 -12Vdc
RS-423 (default)
J2105 1-2
2-3
In
In
RS-232 +12Vdc
RS-423 (default)
J2201 1-2
2-3
In
Out
UPA Speed2 pullup
UPA Speed2 pulldown
J2202 1-32 Out ROMBO connector
J2203 1-8 Out JTAG connector
J2204 1-2
2-3
In
In
FPROM high half booting
FPROM low half booting (default)
J2205 1-2
2-3
Out
Out
Button XIR
Button POR
J2206 1-2
2-3
Out
Out
Pin-1 hardwired to Vcc
Pin-3 hardwired to Vcc
J2301 1-2
2-3
In
In
÷3 mode (250MHZ/300MHz)
÷2 (167MHz/200MHz) ÷4 (400MHz)
J2802 1-2
2-3
Out
In
UPA REQ pullup
UPA REQ pulldown
J2803 1-2
2-3
Out
In
SLAVIO TDO - MOD0 TDO
SLAVIO TDO - MOD1 TDI
J2902 1-2
2-3
Out
In
MOD1 TDI - MOD1 TDO
MOD1 TDI - RISC TDI
J3208 1-20
1-20
Out
Out
Odd Pins 1-19 = Gnd
Even Pins 2-20 = +3.3Vdc
J3402 1-8 Out Ethernet edge test
J3403 1-8 Out Ethernet edge test

CAUTION - Do NOT install jumpers on Power connector J3208.


Ultra 2
501-2487 / 501-3132

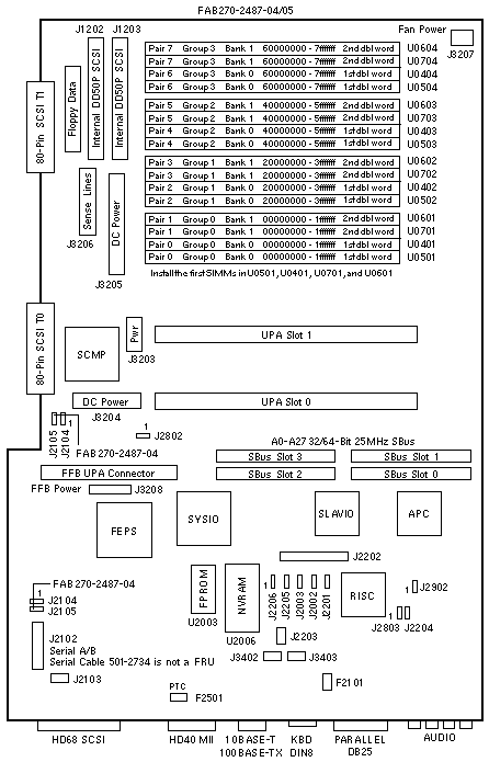
Backpanel and Connectors

Configured System Boards

PART
NUMBER
MEMORY
SIZE
SIMM
SIZE
NUMBER
SIMMs
SPARC
MODULE
NUMBER
MODULES
501-2902 256MB 64MB 4 167MHz 2
501-2966 64MB 16MB 4 167MHz 1
501-2967 128MB 32MB 4 167MHz 1
501-2968 128MB 32MB 4 167MHz 2
501-3052 256MB 64MB 4 167MHz 1
501-3107 256MB 64MB 4 200MHz 2
501-3137 128MB 32MB 4 200MHz 1
501-4117 64MB 16MB 4 200MHz 1
501-4118 64MB 16MB 4 167MHz 2
501-4119 64MB 16MB 4 200MHz 2
501-4121 512MB 128MB 4 200MHz 2
501-4123 128MB 32MB 4 200MHz 2
501-4381 1GB 128MB 8 200MHz 2
501-4633 1GB 128MB 8 300MHz 2
501-4634 512MB 128MB 4 300MHz 2
501-4707 128MB 32MB 4 300MHz 1
501-4708 256MB 64MB 4 300MHz 1
501-4709 256MB 64MB 4 300MHz 2

Notes

  1. The minimum operating system is Solaris 2.5.1.
  2. OBP 3.11 is required if Solaris 2.7 is used in 64-bit mode.
  3. The flash PROM is soldered to the system board.
  4. Use the Flash PROM Programming Utility to update the flash PROM.

Graphics Notes

  1. FFB2+ is not compatible with 300MHz Module 501-4196.
  2. FFB2+ is not compatible with 300MHz Module <=501-4849-02.
  3. Elite3D is not compatible with 300MHz Module 501-4196.
  4. Elite3D is not compatible with 300MHz Module <=501-4849-02.

Memory Notes

  1. Two pairs of SIMMs form a Group.
  2. All four SIMMs within a Group must be the same size.
  3. The minimum memory requirement is four SIMMs in Group 0.
  4. SIMMs can be installed in Group 1, Group 2, or Group 3 in any order.
  5. A Group addresses 512MB of memory. Unused memory is mapped out.
  6. OBP <= 3.1.3 reports memory errors as a pair of SIMMs.
  7. OBP <= 3.1.3 reports the wrong SIMM pair when a memory error occurs. Refer to BugID 1262941.
  8. OBP 3.1.5 reports memory errors as a single SIMM.

Internal SCSI Bus Notes

  1. The SCSI controller is connected to J1202, J3201, and J3202.
  2. There is no termination at J1202, J3201, or J3202.
  3. The internal SCSI bus is terminated at J1203.
  4. Connect J1202 to J1203 with cable 530-1451 or CD-ROM/Tape Drive cable 530-2137 to terminate the internal SCSI bus.

References

  1. Ultra 2 Creator Series Service Manual, 802-2561.
  2. Flash PROM Programming Guide, 802-3233.

WebToneWebToneWebToneWebTone
 Copyright 1994-2003 Sun Microsystems, Inc.,  901 San Antonio Road, Palo Alto, CA 94303 USA.  All rights reserved.
 Legal Terms Privacy Policy Feedback