Sun Microsystems, Inc.
spacer spacer
spacer   Sun System Handbook Home | Systems | Components | General Info | Search | Feedback 
spacer
black dot
 
black fade
 

Volume I: SCSI

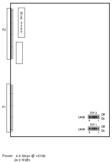
Sun-3 SCSI Host Adapter

Sun-3/110/140/150/160/180/260/280/460/470/480
Sun-4/260/280/330/370/390/490
501-1236

Switch Settings

WebToneWebToneWebToneWebTone
 Copyright 1994-2003 Sun Microsystems, Inc.,  901 San Antonio Road, Palo Alto, CA 94303 USA.  All rights reserved.
 Legal Terms Privacy Policy Feedback