 |
|
|
GP+ Graphics Processor Plus
Sun-4/150/260/280/330/350/360/370/380
501-1139

UNIX ID: /dev/gpone0a-d
Power GP+
- 14.6 Amps @ +5Vdc
- 73.0 Watts
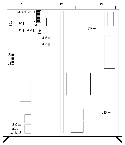
Jumper and Switch Settings
| JUMPER |
SETTING |
DESCRIPTION |
| J1 |
Out |
GP board ID bit 3 |
| J2 |
In |
GP board ID bit 4 |
| J3 |
In |
GP board ID bit 2 |
| J4 |
Out |
GP board ID bit 5 |
| J5 |
Out |
GP board ID bit 1 |
| J6 |
Out |
GP board ID bit 6 |
| J7 |
In if GB is installed |
GP board ID bit 0 |
| J8 |
Out |
GP board ID bit 7 |
| J9 |
Out* |
Ground test point |
| J10 |
Out* |
Ground test point |
| J11 |
Out* |
PP halt test point |
| J12 |
Out* |
VP halt test point |
| J13 |
Out* |
Manual reset test point |
| J14 |
In |
Main clock connect |
| J15 |
Out |
VP free-running CLK test point |
| J16 |
Out |
PP free-running CLK test point |
| J17 |
Out* |
Ground test point |
| J18 |
Out |
Ground test point |
*Hardwired
| DIP SWITCH |
SETTING |
DESCRIPTION |
| UR11-1 |
On |
VME address bit 17 |
| UR11-2 |
Off |
VME address bit 16 |
| UR11-3 |
On |
VME address bit 23 |
| UR11-4 |
On |
VME address bit 22 |
| UR11-5 |
Off |
VME address bit 21 |
| UR11-6 |
On |
VME address bit 20 |
| UR11-7 |
On |
VME address bit 19 |
| UR11-8 |
On |
VME address bit 18 |
Notes
- The Sun-2/160 Power Supply requires RC Network 540-1300-01.
- The default base address is 0x210000.
Reference
- Graphics Processor Plus Configuration Procedures, 813-2023.
Last updated: December 2, 1996
|
|
|